




200 AMIGO Road, Chatsworth, CA 91311
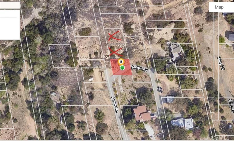
GORGEOUS VIEW LOTS OVER LOOKING THE HILLS OF CHATSWORTH LAKE MANOR AND NATURE PRESERVE. 3 LOTS BEING SOLD TOGETHER WITH COMBINED SQUARE FOOTAGE OF 9,246. UP SLOPE LOTS FROM STREET, PRIVATE PAVED ACCESS ROAD, TOPOGRAPHICAL MAP, SOILS REPORT, PERC TEST AND SEPTIC DESIGN HAS BEEN PAID FOR, SURVEY HAS BEEN DONE. GREAT OPPORTUNITY TO BUILD AND SELL OR KEEP FOR YOUR DREAM HOME. ALL HOMES IN AREA ARE CUSTOM BUILT. OWNER WILL CARRY DOWNPAYMENT OF $50,000. REFERENCE ARIEL MAP IN PICTURES- MAIN LOT INDICATED AND ADDITIONAL LOTS ARE HIGHLIGHTED IN YELLOW.
Lot Size
9,246 sqft
Days on Market
1097
HOA Fee
N/A
MLS #
SR23075593
Lot Features
Agricultural, Corners Marked, Gentle Sloping, Paved, Rolling Slope, Rocks, Secluded, Sloped Up
Sewer
Perc Test On File
Water Source
Public
Mountainous, Rural
$0
| Rating | School Name | ||
|---|---|---|---|
| No school data available for this area. | |||
Balanced market
Avg. time on market
This is a Balanced Market. Homes are selling at a moderate pace.
Flood Risk
Minimal — not in a FEMA flood zone
Wildfire Risk
Moderate — near wildland-urban interface
Heat Risk
Low — moderate summer temperatures
Earthquake Risk
Southern California seismic zone
Based on price, location, and features
Topfind Realty, DRE # 02240815, is a licensed real estate broker in California. Topfind Realty pledges to support the Fair Housing Act and adhere to Equal Housing Opportunity laws.
Copyright © 2026 Topfind Realty. All Rights Reserved.